Friday, December 31, 2021

New Years present to myself, new(er) lathe!


 I bought South Bend lathe # 44154NAR9 (about a 1956 model) to replace my 1944 toolroom model. This one has the gearbox, no more stacking up gears to get the feed speed right! The forklift was great for loading up, the boy was great for unloading, getting it into the basement and starting to set it up. I'm a happy guy.





Below, The machine that is now "surplus to needs".


Winter Drive

 

Out for a winter drive in a new 1912 Packard 30 4 cylinder, possibly patrolling for people digging flowers, (lower left corner)

Thursday, December 30, 2021

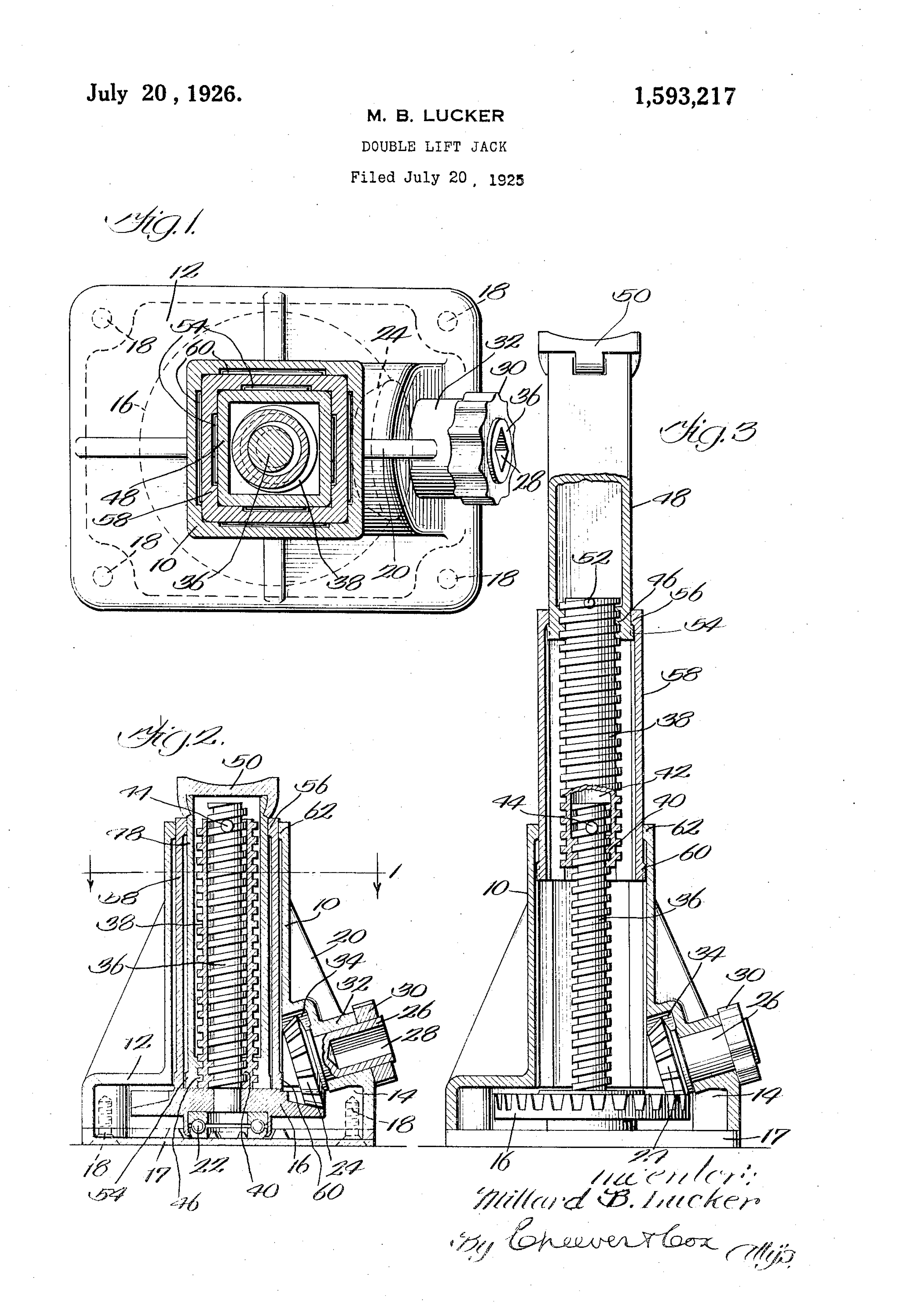
Another Ausco auto jack.



I was sent these pictures of this low profile auto jack after a reader had seen the original Ausco post. It is a different design than the others and he included the patent too, showing the triple screw jack mechanism, if you (like me) wondered how they actually work. Now he's torn, they came in black or red, what colour should he paint it?





 

Thanks, Robert!



Bedelia record setter

 


The Bedelia was one of the many cycle cars built before WW1, possibly the original. Generally powered by a motorcycle engine, cycle cars were pretty rickety. Despite this particular Bedelia's exhaust catching the wooden frame on fire, a new speed record of 45 miles in one hour was set at Brooklands in 1912. Approximately 3000 of these things were sold between 1910 and 1925.

 More at Grace's Guide.



Tuesday, December 28, 2021

Drum brake demonstrator


European driving schools were- maybe still are- much more comprehensive than ours in Canada, a great deal of mechanical knowledge was taught, hence a whole market for engine and other mechanical component cutaways and models was created, This appears to be a NSU motorcycle front brake drum assembly operated by a rear brake foot pedal. 









 

Maltese Cross Inner tubes, Gutta Percha & Rubber



An appalling insensitive poster from the 1920s, objectifying our poor amphibian, subjecting him to ridicule and insinuating his inability to operate as a traditional pond dweller. I mean, "Who speaks for the frog?"
Below a much more acceptable ad. More on the company at the Lost Toronto Blog


1933


Sunday, December 26, 2021

Teddington Controls, 1962


 Another company that quietly goes through life doing invisible things, and still going today. Their presentation has been updated. Website 





Sidecar Sunday


 

Rudge with Canadian canoe sidecar option.

Saturday, December 25, 2021

Friday, December 24, 2021

Wednesday, December 22, 2021

Planes in formation, Yak-9


 The Yak-9 was a Russian fighter aircraft which was used from 1942 to 1948. Almost 17,000 were built and the plane saw action in Korea.  The 1943 version had performance similar to a P51 Mustang but suffered engine reliability problems.
Details of the development and version history here.

As an aside,  In the nineties a few more were produced for the vintage warbird market, they used an Allison engine which turned in the opposite direction to the original Russian WW2 Klimov engines.

Below, on the ground...



More on the low pipe Stinger


Once upon a time (2013, I've been doing this blog THAT long?!!!) I did a post on an usual Suzuki Stinger variation, a low pipe version that wasn't sold here in North America. Apparently it was a real Suzuki, I found bits of info over the years and recently got this email from an owner of one in New Zealand. 
I have found out a bit more.  NZ got these low pipe models but most NZ new T90 & T125 were high pipe models. In the Japan home market, low pipes were often an option ; the small Honda Sports models also could be had with low pipes.  NZ got the Suzuki Japan market bikes, nothing was added here & they arrived in a box with wheels off etc. The Suzuki Stinger & Wolf [T90] are very collectable here & getting harder to find. I was young when these were new & Suzuki absolutely owned the market here then. The AC 50cc Maverick was very popular & also very collectable here now. BTW, that T 125 you show with low pipes has been made up ; not original low pipes [ shape & curve wrong] & has another larger front drum fitted.

My T90 goes very well, just did a big run here with 400 small bikes. Being 2 stroke, they require regular tuning & adjustment, but sound & look great!


Regards

Wayne 

NZ.

Tuesday, December 21, 2021

Model railway engines, framed


 Kind of an odd subject for a framed picture, the subject being models of two not particularly important Canadian steam locomotives, probably in HO scale.  Really the only thing of note is that the owner of the top one is listed as one Andrew Merrilees- who founded and ran Andrew Merrilees Railway Supply in the Toronto Junction area until his death in 1979.  His company mostly salvaged and resold used railway equipment, including leasing locomotives and railway cars. He was also a well known and respected railway historian.

 The owner of the lower model, S. A.Stephens Jr. of Hampstead Quebec isn't so well known, though the name appears as the president of Watson Jack-Hopkins Limited, later Wajax, and seems to have disappeared past that...

April 1969, Kawasaki H1!


Pretty radical machine at the time! 

Rolls Royce Silver Shadow cutway


 More cutaway artwork by Vic Berris